<< M. Vittorio Fontanella -
- brevetto 27 luglio 1931 Parigi -
 

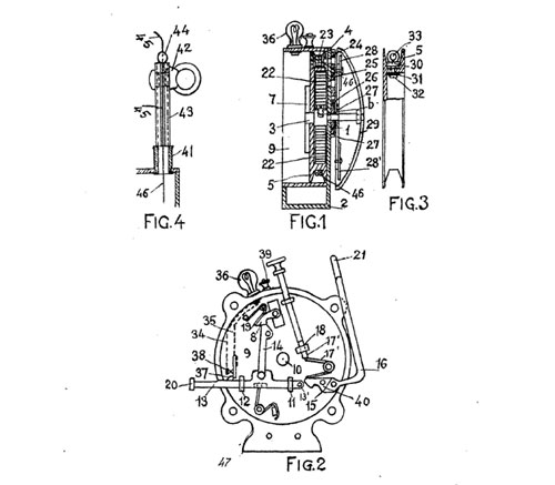
Ecco quanto segnalatomi dell'amico Marc Rattez, uno dei due autori del libro "LES LEURRES DE PÊCHE EN FRANCE 1860-1960", che mi chiedeva se ero a conoscenza del brevetto del Sig. M.Vittorio Fontanella (registrato in Francia il 27 luglio del 1931) che riguarda un singolare meccanismo per facilitare la pesca a fondo.
Da quanto ho potuto apprendere dalla traduzione del testo, l'accessorio permetteva di ferrare in automatico il pesce dando anche una segnalazione visiva tramite una piccola lampadina.
Non sappiamo perchè il Sig. Fontanella, residente in Italia, abbia deciso di brevettare il dispositivo in Francia, cosa certa è che si
trattava di un meccanismo molto innovativo nel lontano 1931!

Brevetto Vittorio Fontanella 27 luglio 1931 Parigi
 
Brevetto Vittorio Fontanella 27 luglio 1931 Parigi
 
Visualizza il brevetto in formato PDF Acrobat Logo Acrobat
 
Sergio Di Marco - Dicembre 2020
 
Articoli vari
Marchi ITALIANI
Accessori Pesca
Mulinelli ESTERI
Visualizza gli ultimi inserimenti
Richiedi informazioni
Eventi del settore
Libri di riferimento
Link siti web amici
HOME   -   CONTATTACI    -   RICONOSCENZE   -  AVVISI VARI  -  NOTE LEGALI
 

ASSOCIAZIONE COLLEZIONISTI ANTICHE ATTREZZATURE DA PESCA
Via Trento, 4 - 16018 - MIGNANEGO (GE)
Cod. Fisc 95157730102


www.antipes.it

 
 
realizzazione web Sergio Di Marco - Sito attivo dal 2012
 

Informazioni relative al funzionamento della "memoria cache".

E' consigliabile sempre forzare il browser web a ricaricare, tramite il tasto funzione "F5" (refresh della memoria cache), le pagine che si stanno visualizzando dal proprio computer (per alcuni browser è necessario la combinazione: Ctrl + F5).
Memorizzare le informazioni relative alla navigazione web nella cache del computer permette di accedere molto più velocemente fra le pagine che si visitano più di frequente. Tuttavia, è possibile però che la versione del contenuto web che si sta visualizzando non sia quello più aggiornato.
Questo accade perché il browser web continua a caricare alcune informazioni dalla cache del computer anziché  dalle pagine web disponibili. Forzando il browser a caricare le informazioni direttamente dalla fonte web (refresh cache) permetterà di  visualizzare i contenuti realmente disponibili.